NDZ típusú biztosító betét

Az NDZ (Niederspannungs- Doppelzweifuss) gyors működésű biztosíték a DIAZED biztosítékcsaládba tartozik, amelyet a német szabványok határoznak meg. A gyors működésű NDZ biztosíték általában a villamos erőforrások védelmére szolgál, amelyek magas rövidzárlati áramokat képesek előidézni.
A gyors működésű NDZ biztosíték paraméterei a következők:
- Névleges feszültség: általában 400V vagy 500V,
- Névleges áramerősség: általában 2A és 63A közötti értékekben kaphatóak,
- Működési idő: nagyon rövid, általában pár ezredmásodperc, ami lehetővé teszi, hogy a biztosíték villámgyorsan működjön és megvédje az áramkört a túlterheléstől,
- Késleltetés: a gyors működésű NDZ biztosítékok gyors működésűek, így nem igényelnek késleltetést,
- Minimális szakadási áram: általában 1000A körüli értékekkel rendelkeznek, ami biztosítja, hogy a biztosíték hatékonyan védelmet nyújtson a túlterhelés vagy a rövidzárlat ellen,
- Vonatkozó szabvány: CEE16,
- Megszakító képesség: AC 500V: 50kA, DC 500V 8kA.
Általánosan elmondható, hogy egy gyors működésű, "teljes tartományú", általános célú betét.
A NDZ biztosítékok általában DII foglalatban helyezkednek el, és a megfelelő foglalat kiválasztása fontos, mert ez biztosítja a biztonságos és megbízható csatlakozást az áramkörben.
Méretek:
- L = 50 mm,
- d3 = 12 mm
Forgalmazott márkáink Mersen, ETI, KVGY
DI típusú biztosító betét
A DI biztosítékok az úgynevezett gyors működésű biztosítékok közé tartoznak. A DI a német "Diazed-Sicherung" kifejezés rövidítése, amely egy speciális fajta kerámiabetétes biztosítékra utal.
A gyors működésű DI (DII-Quick) biztosíték a DII foglalatba illeszthető biztosíték, amelyet általában a 380V és 500V közötti feszültségszintű áramkörökben használnak. Ez a biztosíték gyors működésű, amelyet a túláramok és a rövidzárlatok kivédése érdekében fejlesztettek ki.
A gyors működésű DI biztosíték paraméterei a következők:
- Névleges áramerősség: 2A és 63A közötti értékekben kapható,
- Névleges feszültség: általában 250V,
- Minimális szakadási áram: Általában 10kA és 50kA közötti értékekkel rendelkezik, amelyek lehetővé teszik, hogy hatékonyan megvédjék az áramkört a túlterheléstől és a rövidzárlattól,
- Működési idő: Általában nagyon rövid, általában pár ezredmásodperc, amely lehetővé teszi, hogy a biztosíték gyorsan működjön és megvédje az áramkört a túlterheléstől és a rövidzárlattól,
- Késleltetés: A gyors működésű DI biztosítékoknak nincs késleltetése, mivel gyors működésűek,
- Vonatkozó szabvány: CEE16,
- Megszakító képesség: AC 250V: 10kA.
Speciális alkalmazási területei:
- a gyárakban,
- az épületgépészeti rendszerekben,
- a villamos járművekben,
- számítógépes rendszerekben használják.
A DI biztosítékokat szintén használják olyan környezetekben, ahol a kis helyigény és a biztonság fontos, mivel kis méretűek és megbízhatóak.
Méretek:
L = ,
d3 =
Forgalmazott márkáink: ETI
DII típusú biztosító betét

A DII biztosíték egy olyan elektromos biztosíték, amelyet általában nagy áramerősségekhez használnak, és ahol a biztosíték gyors reagálása és működése kritikus fontosságú. A DII az angol "Very Fast-Acting Fuse" rövidítése, magyarul "Nagyon Gyors Működésű Biztosítékot" jelent. A DII biztosítékok általában üvegszálból vagy kerámiából készülnek, és speciális ötvözetekből készült vezetődrótokkal vannak ellátva. A biztosíték beépített hőérzékelővel rendelkezik, ami az áram megnövekedésekor melegszik fel, majd a biztosíték gyorsan elolvad, és megakadályozza az áramkörben lévő készülékek túlterhelését vagy rövidzárlatát.
A gyors működésű DII biztosíték paraméterei a következők:
- Névleges feszültség: általában 125V vagy 250V,
- Névleges áramerősség: általában 0,5A és 30A közötti értékekben kaphatóak,
- Működési idő: nagyon rövid, általában pár ezredmásodperc, ami lehetővé teszi, hogy a biztosíték villámgyorsan működjön és megvédje az áramkört a túlterheléstől,
- Késleltetés: a DII biztosítékok nagyon gyors működésűek, így nem igényelnek késleltetést,
- Minimális szakadási áram: a DII biztosítékok általában 35A vagy annál kisebb minimális szakadási árammal rendelkeznek, ami biztosítja, hogy a biztosíték hatékonyan védelmet nyújtson a túlterhelés vagy a rövidzárlat ellen,
- Vonatkozó szabvány: CEE16,
- Megszakító képesség: AC 500V: 50kA, DC 500V 8kA.
A DII biztosítékokat gyakran választják ki olyan helyekre, ahol a biztosíték védelme létfontosságú, és ahol a biztosíték késleltetése vagy nem megfelelő működése komoly károkat okozhat. A DII biztosítékokat általában a meghatározott áramerősség és feszültség szerint kell kiválasztani, és a biztosíték foglalatait is a DII biztosítékokhoz kell igazítani.
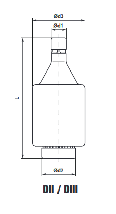
Méretek:
- L = 50 mm,
- d3 = 22 mm.
Forgalmazott márkáink Mersen, ETI, KVGY
DIII típusú biztosító betét
A DIII biztosítékok olyan gyors működésű biztosítékok, amelyeket általában nagy áramerősségű alkalmazásokban használnak. A nagyobb áramerősségű áramkörök általában nagyobb energia-töltettel rendelkeznek, és az ilyen áramkörök védelme érdekében a DIII biztosítékokat használják.
A gyors működésű DIII biztosíték paraméterei a következők:
- Névleges feszültség: általában 250V vagy 600V,
- Névleges áramerősség: általában 1A és 400A közötti értékekben kaphatóak,
- Működési idő: nagyon rövid, általában pár ezredmásodperc, ami lehetővé teszi, hogy a biztosíték villámgyorsan működjön és megvédje az áramkört a túlterheléstől,
- Késleltetés: a DIII biztosítékok nagyon gyors működésűek, így nem igényelnek késleltetést,
- Minimális szakadási áram: a DIII biztosítékok általában nagyobb minimális szakadási árammal rendelkeznek, például 300A vagy annál nagyobb értékekkel, ami biztosítja, hogy a biztosíték hatékonyan védelmet nyújtson a túlterhelés vagy a rövidzárlat ellen,
- Vonatkozó szabvány: CEE16
- Megszakító képesség: AC 500V: 50kA, DC 500V 8kA
Méretek:
- L = 50 mm,
- d3 = 27 mm.
Forgalmazott márkáink Mersen, ETI, KVGY
